Skip to main content
Documentation
View All
Search
Shelves
Books
Log in
Info
Content
Books
ESP32 Open IoT and IIo...
Peripherals
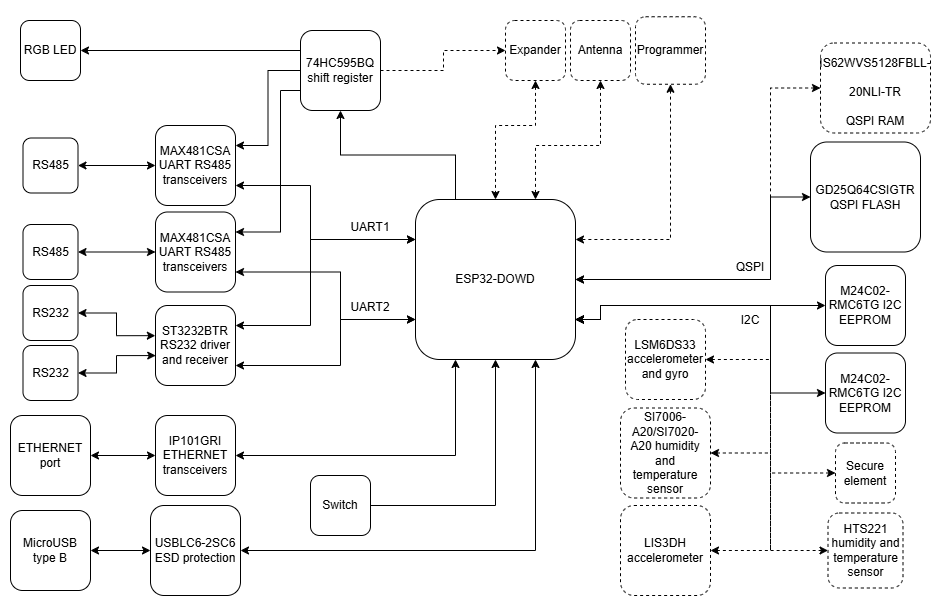
Simplified Block Diagram
Simplified Block Diagram
ESP32 Open IoT and IIoT Gateways (P01 & P02)
Optional elements are marked with the dashed lines.
Enter section select mode
Previous
Peripherals
Next
RGB LED
Back to top