Internal Devices
Internal expansion connectors
Internal Expansion Connector A
Part number: FH1243-208CWG0MUT01
Expansion Connector A placement and pin numeration
(...)
Internal expansion connector connections diagram

Internal expansion connector connections table
|
Connector pin |
Description |
|---|---|
|
1 |
VIN |
|
2 |
+20V |
|
4 |
+5V |
|
5 |
+3V3 |
|
10 |
+1V8 |
|
11 |
+1V8 |
|
12 |
+3V3 |
|
13 |
+5V |
|
15 |
+20V |
|
16 |
VIN |
Internal Expansion Connector B
Part number: FH1234-221CWG0MUT01
Expansion Connector A placement and pin numeration
(...)
Internal expansion connector connections diagram

Internal expansion connector connections table
|
Connector pin |
Description |
|---|---|
|
10 |
+20V power supply |
|
11 |
+20V power supply |
|
13 |
SPI1 master in slave out |
|
14 |
SPI1 master out slave in |
|
16 |
SPI1 clock |
|
19 |
SPI slave select 1 |
|
20 |
SPI slave select 2 |
|
22 |
GPIO4 / Pin AG17 |
|
24 |
USB negative pole |
|
25 |
USB positive pole |
|
27 |
I2C4 data |
|
29 |
I2C4 clock |
|
31 |
GPIO1 / Pin AF15 |
|
33 |
GPIO2 / Pin AF17 |
|
35 |
GPIO3 / Pin AF18 |
|
36 |
+1V8 power supply |
|
37 |
+1V8 power supply |
|
39 |
+3V3 power supply |
|
40 |
+3V3 power supply |
|
41 |
Global reset |
|
42 |
+5V power supply |
|
43 |
+5V power supply |
Watchdog + Reset
The device is equipped with a watchdog device and a reset circuit.
Watchdog device
Part number: MAX6373KA
Watchdog connections table
|
Watchdog pin |
Description |
|---|---|
|
1 |
Watchdog refresh |
|
7 |
Watchdog reset |
Watchdog and Reset circuit connections diagram

CPU connections table
|
Signal |
CPU pin |
Default function |
User space name |
|---|---|---|---|
|
ESP32 watchdog refresh |
AG8 |
GPIO4_IO28 |
gpiochip3 28 |
|
ESP32 watchdog reset |
AF8 |
GPIO5_IO05 |
gpiochip4 5 |
|
Reset |
AG16 |
GPIO4_IO00 |
gpiochip3 0 |
ESP reset
The device is equipped with an ESP32 microcontroller, which can optionally serve as watchdog.
EEPROM
The device is equipped with 2 EEPROM memory modules. EEPROM B is reserved for the producers pruposes and it is read only.
EEPROM device
Part number: M24C02-RMC6
EEPROM A connections table
|
EEPROM pin |
Description |
User space name |
|---|---|---|
|
1 |
Address pin 0 (GND) |
X |
|
2 |
Address pin 1 (+3V3) |
X |
|
3 |
Address pin 2 (+3V3) |
X |
|
5 |
I2C3 data |
X |
|
6 |
I2C3 clock |
X |
|
7 |
EEPROM write protect |
gpiochip5 6 |
EEPROM connection diagram

User space access
EEPROM A Device name: /sys/bus/nvmem/devices/2-00522
EEPROM B Device name: /sys/bus/nvmem/devices/2-00561
EEPROM B connections table
|
EEPROM pun |
Description |
|---|---|
|
1 |
Address pin 0 (GND) |
|
2 |
Address pin 1 (+3V3) |
|
3 |
Address pin 2 (GND) |
|
5 |
I2C3 data |
|
6 |
I2C3 clock |
|
7 |
EEPROM write protect |
{{@136#bkmrk-expander-e}}
EEPROM A is connected to the expander E via I2C4 interface.
{{@134#bkmrk-i2c3}}
EEPROMs A and B are connected to the CPU with I2C3 interface.
RTC
The device is equipped with a real-time clock operating at frequency of 32.768 kHz and tolerance of 20 ppm. The RTC clock is connected to a DR2032 battery which acts as its power supply.
RTC device
Part number: DS1338
RTC connection diagram

User space access
Device Name: /sys/class/rtc/rtc0
RTC connections table
|
RTC pin |
Description |
|---|---|
|
1 |
Clock oscillator pin no. 1 |
|
2 |
Clock oscillator pin no. 2 |
|
3 |
Battery power pin |
|
5 |
I2C3 data |
|
6 |
I2C3 clock |
{{@134#bkmrk-i2c3}}
Real-time clock is connected to the CPU with I2C3 interface.
ESP32 microcontroller
The device is equipped with an internal ESP32 microcontroller, used for internal purposes.
ESP32 device
Part number: ESP32-DOWD
ESP32 connections table
|
ESP32 Pin |
Description |
|---|---|
|
8 |
ESP_P_Detect |
|
9 |
ESP32 reset |
|
14 |
DSI-HDMI bridge I2C data |
|
15 |
DSI-HDMI bridge I2C clock |
|
16 |
DSI_HDMI bridge interrupt |
|
20 |
I2C3 data |
|
22 |
I2C3 clock |
|
23 |
ESP_GPIO0 |
|
24 |
ESP32 watchdog reset |
|
25 |
ESP32 watchdog refresh |
|
26 |
VDD_SDIO |
|
28 |
ESP SPI hold |
|
29 |
ESP SPI write protect |
|
30 |
ESP SPI chip select |
|
31 |
ESP SPI clock |
|
32 |
ESP SPI slave out |
|
33 |
ESP SPI slave in |
|
34 |
ESP LED |
|
39 |
ESP programming on signal |
|
40 |
ESP console RX |
|
41 |
ESP console TX |
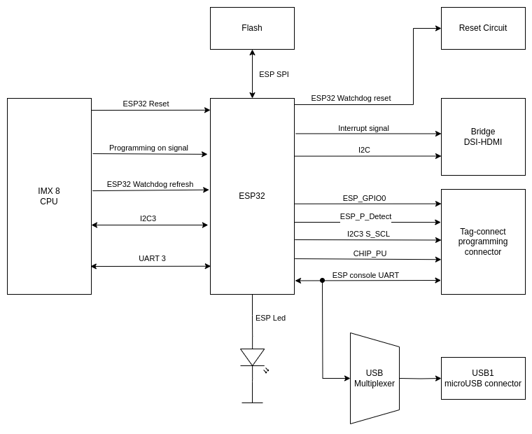
ESP32 connections diagram

CPU connections table
|
Signal |
CPU pin |
Default function |
User space name |
|---|---|---|---|
|
ESP programming on signal |
AG11 |
GPIO1_IO06 |
gpiochip0 6 |
|
ESP32 reset signal |
E18 |
GPIO5_IO26 |
gpiochip4 26 |
|
ESP GPIO 0 |
D18 |
GPIO5_IO27 |
gpiochip4 27 |
|
ESP Watchdog line |
AG8 |
GPIO4_IO28 |
gpiochip3 28 |
{{@133#bkmrk-usb1}}
The programming console is output via multiplexer to USB1 microUSB connector.
{{@134#bkmrk-i2c3}}
The microcontroller is connected to the CPU via I2C3 interface.
{{@134#bkmrk-uart3}}
The microcontroller is connected to the CPU via UART3 interface.

